Vitrage Graph Design

_images/low_level_design.png

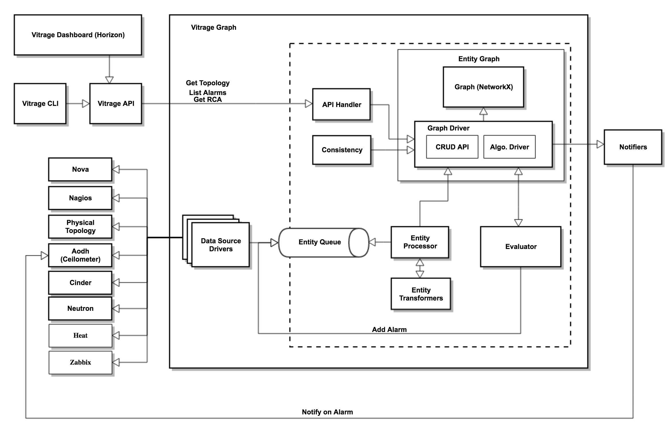
Main Components

Graph

A library with a graph representation, that is used by Vitrage Graph and by Vitrage Evaluator.

The Graph Driver consists of APIs for graph CRUD operations (add/remove vertex, add/remove edge, etc.) and graph algorithms for iteration and pattern detection. In Mitaka, the graph driver will be implemented in-memory over NetworkX (https://networkx.github.io/). Future versions should support replacing NetworkX with a persistent graph DB such as Titan or Neo4J.

Datasources

Vitrage can support multiple datasources to populate its graph. Each datasource is responsible for importing information regarding certain entities in the cloud and defining how to integrate their information into the graph. Entities in this context refer both to resources (physical & virtual) and alarms (Aodh, Nagios, Monasca, etc.)

The datasource is comprised of two components. The Driver handles retrieving the information and entering it into the entity queue, while the Transformer defines how to integrate the information retrieved into the graph (for more details about the Transformer, see next section).

The datasource driver has two modes of operation:

  • get_all (snapshot): Pull-based operation. Query all entities for this datasource and send events to the queue. When done, send an “end” event.
  • notify: Push-based operation. When change occurs, send an event to the queue.

Entity Processor and Transformers

The Entity Processor is responsible for polling events from the entity queue and inserting corresponding vertices to the Graph. For every entity event in the queue, the Processor calls the Transformer that is registered on this entity type. For each datasource there is a Transformer, which understands the specific entity details. It queries the graph, and after processing outputs a vertex to be inserted to the Graph together with edges that connect it to its neighbors in the graph.

Evaluator

The Evaluator is notified on every change in the Graph, and is responsible for executing templates that are related to this change.

Template Examples:

  • Deduced alarm: In case an alarm is raised indicating a public switch is down, trigger an “instance is at risk” alarm on every instance that is contained by a host attached to this switch.
  • Deduced state: In case an alarm is raised indicating a public switch is down, set the state of every instance that is contained by a host attached to this switch to be “suboptimal”.
  • Causal relationship: In case an alarm is raised indicating a public switch is down, and an “instance is at risk” alarm is active on an instance that is contained by a host attached to this switch - determine that the switch alarm is the root cause of the instance alarm, and add a “causes” edge to the Graph from the vertex representing the switch to the vertex representing the instance.

Templates can be added, removed or modified by the user.

Consistency

This component is responsible for verifying the Graph’s consistency with the actual situation in the cloud. It is called both during Vitrage startup, as part of the graph initialization, as well as periodically to ensure the graph is correct.

The consistency component will include:

  • Deleting obsolete vertices
  • Handle the case that Vitrage missed a “delete entity” event, and did not delete certain deduced alarms.
  • Ensure no entity is missed in the Graph. This can be done by retrieving all entities from all datasources.

Note: If an entity is added, its related templates will also be executed as well to create deduced alarms and add RCA information to the graph.

API Handler

The API handler is responsible for transferring Vitrage API calls to the Graph.

Notifiers

The notifier is responsible for notifying registered external components of changes that took place in the graph. For example, external OpenStack projects such as Aodh/Monasca could have a notifier to notify them about deduced alarms. Each notifier is responsible to notify another component.